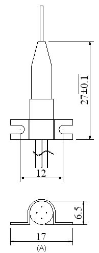
1310nm DFB동축 피그테일 2.5G 레이저 다이오드는 CATV 역방향 전송 또는GSM 전송, 기타 아날로그 또는 디지털 광전송에 적용되며 대용량 광섬유 통신에 조건을 마련해줍니다. DFB 레이저 다이오드의 높은 안정성으로 당사의 레이저 다이오드는 광학격자를 통해 단일모드로 동작하며 고속 장거리 통신에서 낮은 손실을 실현합니다.
DFB동축 피그테일 레이저 다이오드는 임계치 전류가 아주 낮아 , 전류가3mA ~ 12mA를 초과할시 레이저를 발사하기 시작하며 해당 생산하는 레이저 파장은1300nm ~ 1320nm에 도달할것입니다. 우리 제품이 생산하는 레이저는 순도가 높고 안정성이 좋아 레이저파장위에서 약 0.3nm ~ 0.5nm의 비교적 낮은 스펙트럼폭을 가지고 있으며 낮은 전압에서 동작하며 광출력 전력이1mW ~ 4mW에 도달할수 있습니다. 비교적 낮은 전기적 특성으로 인해 레이저 다이오드는 상당히 긴 사용수명을 갖추고 오랜기간 동작할수 있습니다. 광 아이솔레이터의 내장으로 동축 피그테일 2.5G 레이저 다이오드는 간섭에 대한 높은 저항력, 낮은 삽입손실을 갖기때문에 상대 강도 잡음 (RIN) 이 -135db/hz, 3차 왜곡이 -60db로 될것이며 외부환경이 통신질량에 주는 영향을 최소화할것입니다.
최대 정격 절대값
| 파라미터 | 기호 | 최소 | 최대 | 단위 | 시험조건 |
| 보존온도 | Tstg | -40 | 100 | ℃ | - |
| 동작온도 | Top | -40 | 85 | ℃ | - |
| 역방향전압 | Vr | CW | 2 | V | CW |
| 납땜 온도 | - | - | 260 | ℃ | - |
| 납땜 시간 | - | - | 10 | S | S |
광학적 & 전기적 특성
| 파라미터 | 기호 | 최소 | 평균 | 최대 | 단위 | 시험조건 |
| 정격출력 | Po | 1 | - | 4 | mW | Ith+20mA |
| 임계치 전류 | Ith | 3 | - | 12 | mA | CW |
| 순방향 전압 강하 | Vop | - | 1.1 | 1.5 | V | CW, Ith+20mA |
| 센트 파장 | λc | 1300 | 1310 | 1320 | nm | - |
| 스펙트럼 폭 | Δλ | - | 0.3 | 0.5 | nm | Ith+20mA |
| 부모드 억제율 | SMSR | 30 | 40 | - | dB | - |
| 대역폭(3dB) | Bw | 5 | 1000 | 2500 | MHz | RI=50Ω |
| 모니터 전류 | Im | 0.1 | 0.5 | 0.9 | mA | CW, Ith+20mA |
| 모니터 암전류 | Id | - | - | 0.1 | uA | CW, Ith+20mA |
| 상대 강도 잡음 | RIN | - | -135 | - | dB/Hz | CW, 25℃ |
| 3차 왜곡 | IMD3 | - | - | -60 | dBc | 2 tone test, |
| 광절연 | ISO | 30 | - | - | dB | 25℃ |
주문내용
MLD-D31X2-XXXXX
| M | LD | -D | 31 | x | x | -x | x | x | x | x |
| 모드 | 제품 | 타입 | 파장 | 절연체 | 비율 | 커넥터 | 핀 | 피그테일 색상 | 피그테일 길이 | 출력범위 |
| D: DFB | 31:1310nm | S:싱글 B:듀얼 W:없음 | 2:2.5Gb/s | 1:FC/APC 2:FC/PC 3:SC/APC 4:SC/PC 5:LC/PC 6:LC/APC | A:725 B:720 | H:옐로 B:내츄럴 R:밀크 화이트 | 5:0.5m 1:1m | 1:>1mW<2mW 2:>2mW<3mW 3:>3mW<4mW |
Shengshi는 중국의 1310nm DFB동축 피그테일 2.5G 레이저 다이오드1-4mW 전문 제조업체 및 공급 업체입니다. 저희 회사는1310nm 버터플라이 타입 DFB 레이저 다이오드, 1550nm OTDR용 펄스 레이저 모듈, 1625nm 동축 피그테일 레이저 다이오드 모듈등을 공급하고 있습니다.

