InGaAs 동축 피그테일 검파다이오드 모듈은 RF 통신에 적합한 검파기 제품으로 광원에서 송신한 광파를 수신 및 그중에서 유용한 정보를 추출할수 있습니다. 본 제품은InGaAs재질을 사용하여 -40 ℃ ~ 85 ℃온도하에서 안정적으로 동작가능하고 파장이 약1100nm 에서 1650nm사이의 광파를 수신할수 있으며0.1ns 이내 빠른 응답을 할수 있습니다. 3Gbps, 5Gbps, 10Gbps 전송속도로 사용자가 선택할수 있으며 암전류와 정전용량이 낮아 정확한 방출및 검출을 보장합니다.
동축 피그테일 검파다이오드 모듈은 동작하에서 반사손실이 -65dB로 전송과정에서 간섭에 의해 일으키는 고장을 방지할수 있습니다. 저소비전력의 광전송 부품으로 포화출력이 약6dBm, 정전용량이0.75pF입니다.
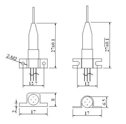
검파다이오드 모듈은 단일모드 광섬유 패키지 및 소형, 심플한 구조, 저 코스트 및 뛰여난 성능을 가지고 있으며 고속응답 및 평판적 구조를 가진 InGaAs PIN검출기를 채택하여 메사구조에 비해PN 접합의 측면은 InGaAs의 표면에 노출되지 않으므로 표면누설, 표면 재결합 전류를 발생하지 않고 긴 시간 사용할수 있습니다.
최대 정격 절대값
| 파라미터 | 기호 | 조건 | 지수 | 단위 |
| 보존온도 | Tstg | - | -40~100 | mA |
| 동작온도 | Top | - | -40~85 | V |
| 역방향 전압 | Vr | CW | 30 | V |
| 납땜 온도 | - | - | 260 | ℃ |
| 납땜 시간 | - | - | 10 | S |
광학적 & 전기적 특성
| 파라미터 | 기호 | 최소 | 평균 | 최대 | 단위 | 시험조건 |
| 검출범위 | λ | 1100 | - | 1650 | nm | |
| 암전류 | Id | - | 0.1 | 1 | nA | VR=5V,25° |
| 양자효율 | R | 0.85 | 0.9 | - | A/W | VR=5V,λ=1310 nm 3G |
| 0.85 | 0.9 | VR=5V,λ=1310 nm 5G | ||||
| 0.80 | 0.85 | VR=5V,λ=1310 nm 10G | ||||
| 포화출력 | P | - | - | 6 | dBm | VR=5V,25℃ |
| 상승 및 하강 시간 | Tr/Tf | - | 0.1 | - | ns | RL=50Ω |
| 정전용량 | Ct | - | - | 0.75 | pF | VR=5 |
| 반사손실 | R | - | - | -45 | dB | 45~860MHz |
| CSO | - | 60 | - | - | dB | 45~860MHz |
| CTB | - | 65 | - | - | dB | 45~860MHz |
주문내용
MPD-XX-XXX
| M | PD | -x | x | -x | x | 8 |
| 모드 | 제품 | 비율 | 커넥터 | 피그테일 색상 | 피그테일 길이 | 표시 |
| 3:3Gb/s 5:5G/s 1:10G/s | 1:FC/APC 2:FC/PC 3:SC/APC 4:SC/PC 5:LC/PC 6:LC/APC W:없음 | H:옐로 B:내츄럴 R:밀크 화이트 D: 컬러 | 5:0.5M 1:1M | 8:≥0.8W/A 9:≥0.9W/A |
당사는 중국의InGaAs 동축 피그테일 검파다이오드 모듈 전문 제조업체 및 공급업체로서, 그외에 1310nm-1550nm FP 동축 피그테일 레이저다이오드 모듈, 1490nm OTDR용 펄스 레이저 다이오드, 1270-1610 CWDM 동축 피그테일 레이저다이오드, 850nm InGaAs PIN-TIA 검출기등을 제공하고 있습니다.

